手机看新闻
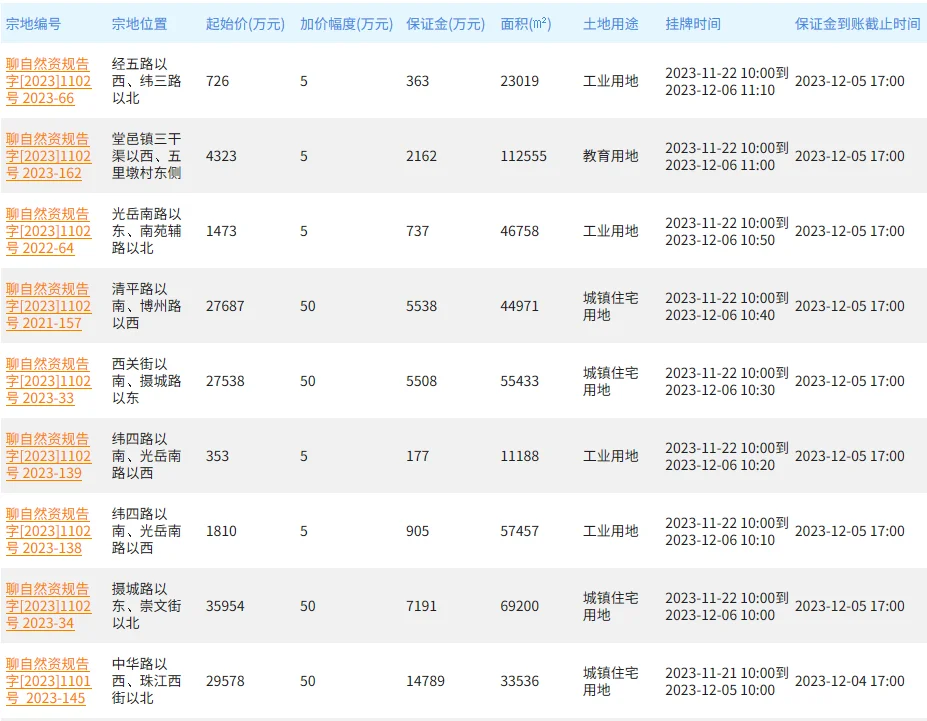
监社御史2023-11-03 17:10:16近日,聊城市公共资源交易网挂出9宗,其中4为城镇,1宗地为,4宗地为。据了解,此次截止时间为2023年12月6日。
以下为拟出让信息——

以上为拟出让信息,仅供参考,最终以官方公告为准。
01城镇

备注:
1、该属违法占地(未供先建),现已处罚到位。受东昌府区人民政府委托,出让人在本次出让中对地上建筑物一并进行处置。竞得人需在土地成交确认书签订后5个工作日内,向东昌府区政府缴纳建筑物价款217786007.07元,不能缴纳的,视为放弃竞得资格,出让起始价的20%不予退还。竞得人缴纳建筑物价款后,在成交确认书签订后10个工作日内与出让人签订《合同》。东昌府区人民政府应在竞得人缴纳建筑物价款后5个工作日内与竞得人签订资产移交协议并交付地上建筑物及相关证件手续;逾期不能签订的,每延迟1日由东昌府区政府按建筑物价款1‰向竞得人支付;逾期超过60日,经竞得人催告后仍不签订资产移交协议的,竞得人有权放弃竞得资格并可要求东昌府区政府赔偿损失,已缴纳的,出让人予以退还;
2、土地竞得人须提供61469平方米()回迁安置住宅,东昌府区政府以5416元/平方米的价格进行回购。
3、土地出让年限:日期为2088年9月30日;
4、其他事项详见竞买须知、出让文件。注:本公告所称出让起始价不含地上建筑物款。(米):≤100

备注:
1、该属违法占地(未供先建),现已处罚到位。受东昌府区人民政府委托,出让人在本次出让中对地上建筑物一并进行处置。竞得人需在土地成交确认书签订后5个工作日内,向东昌府区政府缴纳建筑物价款349969072.41元,不能缴纳的,视为放弃竞得资格,出让起始价的20%不予退还。竞得人缴纳建筑物价款后,在成交确认书签订后10个工作日内与出让人签订《合同》。东昌府区人民政府应在竞得人缴纳建筑物价款后5个工作日内与竞得人签订资产移交协议并交付地上建筑物及相关证件手续;逾期不能签订的,每延迟1日由东昌府区政府按建筑物价款1‰向竞得人支付;逾期超过60日,经竞得人催告后仍不签订资产移交协议的,竞得人有权放弃竞得资格并可要求东昌府区政府赔偿损失,已缴纳的,出让人予以退还;
2、土地竞得人须提供122983.97平方米()回迁安置住宅,东昌府区政府以4995元/平方米的价格进行回购。
3、土地出让年限:日期为2091年4月30日;
4、其他事项详见竞买须知、出让文件。注:本公告所称出让起始价不含地上建筑物款。(米):≤80

备注:
1、该属违法占地(未供先建),现已处罚到位。受东昌府区人民政府委托,出让人在本次出让中对地上建筑物一并进行处置。竞得人需在土地成交确认书签订后5个工作日内,向东昌府区政府缴纳建筑物价款406670408.26元,不能缴纳的,视为放弃竞得资格,出让起始价的20%不予退还。竞得人缴纳建筑物价款后,在成交确认书签订后10个工作日内与出让人签订《合同》。东昌府区人民政府应在竞得人缴纳建筑物价款后5个工作日内与竞得人签订资产移交协议并交付地上建筑物及相关证件手续;逾期不能签订的,每延迟1日由东昌府区政府按建筑物价款1‰向竞得人支付;逾期超过60日,经竞得人催告后仍不签订资产移交协议的,竞得人有权放弃竞得资格并可要求东昌府区政府赔偿损失,已缴纳的,出让人予以退还;
2、土地竞得人须提供140664.5平方米()回迁安置住宅,东昌府区政府以4995元/平方米的价格进行回购。
3、土地出让年限:日期为2091年4月30日;
4、其他事项详见竞买须知、出让文件。注:本公告所称出让起始价不含地上建筑物款。(米):≤80

备注:
1、竞得人开发建设严格按《聊城市建设条件意见书》(聊建房[2023]22号)文件要求执行;
2、其他事项详见出让文件。:≤33米
02

备注:
该按“标准地”供应,产业引进说明等要求详见竞买须知及出让文件。

备注:
1、该按“标准地”供应,产业引进说明等要求详见竞买须知及出让文件。
2、该属违法占地(未供先建),现已处罚到位。受东昌府区人民政府委托,出让人在本次出让中对地上建筑物一并进行处置。竞得人需在土地成交确认书签订后5个工作日内,向东昌府区政府缴纳建筑物价款2211989.55元,不能缴纳的,视为放弃竞得资格,出让起始价的20%不予退还。竞得人缴纳建筑物价款后,在成交确认书签订后10个工作日内与出让人签订《合同》。东昌府区人民政府应在竞得人缴纳建筑物价款后5个工作日内与竞得人签订资产移交协议并交付地上建筑物及相关证件手续;逾期不能签订的,每延迟1日由东昌府区政府按建筑物价款1‰向竞得人支付;逾期超过60日,经竞得人催告后仍不签订资产移交协议的,竞得人有权放弃竞得资格并可要求东昌府区政府赔偿损失,已缴纳的,出让人予以退还;
3、土地出让年限:日期为2066年9月30日。注:本公告所称出让起始价不含地上建筑物款。

备注:
1、该按“标准地”供应,产业引进说明等要求详见竞买须知及出让文件。
2、日期为2072年12月25日。

备注:
1、该按“标准地”供应,产业引进说明等要求详见竞买须知及出让文件。
2、日期为2072年12月25日。
03

备注:
1、该属违法占地(未供先建),现已处罚到位。受东昌府区人民政府委托,出让人在本次出让中对地上建筑物一并进行处置。竞得人需在土地成交确认书签订后5个工作日内,向东昌府区政府缴纳建筑物价款284786905.50元,不能缴纳的,视为放弃竞得资格,出让起始价的20%不予退还。竞得人缴纳建筑物价款后,在成交确认书签订后10个工作日内与出让人签订《合同》。东昌府区人民政府应在竞得人缴纳建筑物价款后5个工作日内与竞得人签订资产移交协议并交付地上建筑物及相关证件手续;逾期不能签订的,每延迟1日由东昌府区政府按建筑物价款1‰向竞得人支付;逾期超过60日,经竞得人催告后仍不签订资产移交协议的,竞得人有权放弃竞得资格并可要求东昌府区政府赔偿损失,已缴纳的,出让人予以退还;
2、土地出让年限:日期为2012月31日;
3、其他事项详见竞买须知、出让文件。注:本公告所称出让起始价不含地上建筑物款。
对其宗后续的成交情况,聊城房天下将持续为您关注!
免责声明:本文系注册用户(作者)在房产圈发布,房天下未对内容作任何修改或整理。本文仅代表作者观点,不代表房天下立场,若侵犯了您的合法权益,请进行投诉。对作者发布之内容,未经许可,不得转载。
还可以输入200字
带您纵览聊城楼市,轻松掌握水城楼市新动态!
9000元/平方米
9500元/平方米
12000元/平方米
9500元/平方米
11500元/平方米
15000元/平方米
11000元/平方米
9000元/平方米
6200元/平方米
6800元/平方米
| b | d | ||||||||
| c | q | t | |||||||
| f | j | s | w | ||||||
| g | n | ||||||||
| x | |||||||||
| h | z |